内蒙古德明电子科技有限公司产品解决方案 联系电话:15384841043张工
对物联网技术在地源热泵系统数据可视化的应用进行了研究,对硬件设备运行数据进行采集及分析,通过网络技术将数据上传云端,借助大数据处理软件平台实现数据可视化监测系统。系统分为两部分:一部分主要采用底层安装的温度传感器、电表、热量表、流量表等进行数据采集;另一部分采用优化的软件系统对地温、热量、能耗等历史数据进行统计并进行图表化显示。其中数据通过总线形式传输给PLC,再由PLC上传至网络云端。该系统实现了从终端设备数据采集,到物联网传输、数据中心与服务平台、前端应用等完整的物联网解决方案,实现了对地温空调运行的可视化监测。
常用地温测量方法以实测法为主。
(一)钻孔测温
用电阻温度计测量钻孔内井液温度代替所测深度地层的温度。地热钻井中常用这种方法。在钻井停机48~72h后,钻井液温度与井壁岩层温度趋于平衡,所测井液温度为岩层温度。具体方法是用顶部可变换的、热容小的热敏元件组成测温探头,连接电缆置于所测深度。这种方法测试可以认为不受地下水流体影响。
(二)浅井测温
指<200m深的浅井中的测温或梯度测量。在井孔中用电阻温度计测量水体的温度或井液温度。井液的温度更能准确代表井壁岩层的温度,井水的温度在没有地下水径流、越流等对流作用时,可代表井壁的温度。浅井测量时可以同时测不同深度的水温,用以计算地温梯度。方法是用单一电阻温度计或多个温度计同时测量不同深度水温。
(三)浅层土壤测量
用在土壤中埋设热敏电阻温度计的方法测量1~50m深的土壤温度。用此方法还可以测量热流体上升通道而判别断裂和裂隙的位置,识别活动构造。当浅孔测温<20m深时要剔除地表气温的影响。
根据测温钻孔的深度一般把地温测量方法分为以下3类:①米测温法(深1~3m);②浅孔测温法(深10~30m);③深孔测温法(深度>30m)。前两种统称浅层测温法,它具有较好的经济性(特别是米测温法),而且对地热异常区一般有良好的异常显示,故浅层测温法是勘探地热田的主要地温测量方法。
地温测量的深度应根据储热构造的埋深、温度及当地的水文地质、气候条件而定。在埋深较小的高温地热区,由于地表地热异常明显,可采用浅层测温法。在地热普查阶段可使用成本低的米温测量,测量1~2m的表层地温。深孔测温法孔深一般在50~200m之间,钻孔间距取决于地热异常的范围。其优点在于不受气候变化的影响,但钻井费用较高。一般为地热勘查的详查阶段要使用。
测温勘探过程中,应尽量避免自然因素和人为因素的影响,包括日照、地形、大气降水、地下水活动和人工热源对温度测量的干扰。诸如地下水活动可能带走传导热流,而导致梯度测量数值的假象,过浅的地温测量应该校正因气温带来的数据偏差等。所以,测温勘探最好选择构造特征相近地段、气温变化不大时间段进行测量,以增加测量数据的准确性。
我们所熟悉的传统测温传感器存在着一定的缺陷,比如,传统的传感器大多是电量型的,测量范围小、并网困难,而且点式传感器在测量大范围、长距离时,维护成本较高;而分布式光纤测温技术在近二三十年得到了快速发展,通过光纤进行传输,可连续测温,光纤既是传感器,同时也是传输介质;本质是无源设备,测量距离长,安全可靠不怕电磁场干扰。在电力、交通隧道、地铁、石化、大坝等领域均有广泛应用,走线布置非常灵活、美观;安装布放简单、施工方便;光纤材质耐腐蚀性强,可在室外环境使用数30年,经久耐用,超高性价比。
分布式光纤传感测温技术的原理是利用光时域反射(OTDR)技术和拉曼(Raman)散射效应测量沿光纤分布的温度变化。激光器射出一束光,通过光学模块调制后进入感温光纤,通过检测光纤中反射光的信息可得出沿光纤各处分布的温度信号。同时,由于光速为一常数,通过分析光束返回的时间,结合高速信号采集与数据处理技术,可准确、快速地获得整根传感光纤的温度分布信息。
系统包含的子系统:
1、传感器与传输系统
该系统应用先进的分布式光传感技术,通过光纤传感器,将被测温度量转变成光信号。由于从传感器输出的信号为光信号,所以可以直接通过光缆进行远距离传输。光纤良好的耐环境性能也为长期的安全监控提供了可靠的保障。
2、数据采集系统
该系统的功能:光纤传感器所产生的光信号经光缆的远程传输,然后通过放置在监控室的光纤监测解调仪直接进行数字量识别并转换为物理量,记录的数据可以在计算机终端显示、记录、保存或直接进入监测数据库。
3、监测数据管理软件系统
该系统的目的是根据各监测项目的特点,使各种不同类型的数据通过恰当的组织被有效地储存起来。在保证必要信息储存的前提下,尽量减少数据冗余度。该管理系统能方便地从数据系统中获取数据,同时数据可以被不同用户方便地调用。
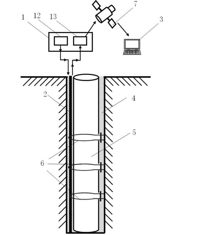
采用线式感温光纤对地热井进行在线温度监测。

本设计依据国家关于火灾自动报警系统施工及验收规范及工业自动化测控系统的设计技术规范,采用目前在工业界广为使用并被证明是成功的分布式光纤测温系统,以其结构先进、布线成本低、抗干扰能力强、运行安全可靠、扩充灵活方便的优越性能,在投资费用合理的前提下,实现管道泄漏时温度差监测功能。实时监测井下温度,对温度的异变及时进行预报,及时发现隐患,及时进行防范。
根据地热井分布情况,设计光缆安装(参考方案),见下表:
|
序号 |
名称 |
型号 |
数量 |
|
1 |
分布式光纤测温主机(4通道) |
2000 |
1台 |
|
2 |
特种测温光缆(地热井)井壁测试 |
120 |
2500米 |
|
3 |
特种测温光缆(地热井)井筒测试 |
-120 |
2500米 |
|
4 |
分布式光纤测温在线监测组态软件 |
|
1个 |
|
5 |
工作站(工控机/显示器) |
610 |
1套 |
|
6 |
光纤终端盒 |
A |
1套 |
|
7 |
光纤接续盒 |
B |
2套 |
设计说明:
本项目需要地热井1口,深度均是2500m。
铺设如下图。

